近幾年來,長城汽車不斷推陳出新,玩起花樣命名,哈弗大狗、坦克、長城炮等新品牌一經上市,別出心裁、清新脫俗的命名就引發不少網友熱議,受到不少受眾追捧!
目前長城旗下已擁有哈弗、WEY、歐拉、長城炮等眾多子品牌,最近長城的商標布局動作似乎透露了其在研發新子品牌的道路上又有了新動作。

,8月-9月期間,長城汽車股份有限公司申請注冊了一批全新商標,其中不僅有皮卡長城炮系列的防御商標,還有一批與其他子品牌不同的商標。
早在2019年4月,長城推出了首款乘用化大皮卡“長城炮”,不到兩年時間,長城炮成為最快突破20萬銷量的中國高端皮卡品牌,中國每賣出兩臺皮卡,就有一臺是長城。而在長城最近一批申請注冊的商標中,又出現了“平遠炮”“飛狐炮”“雁門炮”“武勝炮”“龍頭炮”“鎮遠炮”“紫荊炮”“得勝炮”等。

在“長城炮”系列推出之后的兩年間,長城就已申請了近700多個與有關“炮”的商標名稱,如“沖鋒炮”“黃金炮”“全能炮”“風云炮”“激光炮”“金剛炮”“至尊炮”等等。無論是作為提前注冊的防御商標,還是作為長城炮系列皮卡其他子品牌的商標,長城都已經做好了萬全準備。說不準,這些看上去有些奇怪的商標名里,就有進一步豐富長城炮系列產品線的名字。

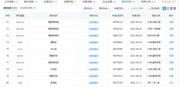
除了長城炮系列商標之外,長城此次還申請了其他兩種畫風不同的商標。其中一類與長城WEY系列有關,“魏牌夢”“魏牌舊夢”“魏牌圓夢”“魏牌追夢”“魏牌貴賓艙”“魏牌時空艙”等。WEY系列在今年剛剛推出過全新子產品WEY摩卡、WEY瑪奇朵、WEY拿鐵,如今的“夢”系列定位如何,我們暫時還無從知曉。

長城此次申請的另一類從未聽過的商標名是“維他命”系列。“維他命”“長城維他命A”“維他命B”“長城維C”……這些“維他命”系列商標聽起來就透著一股青春氣息,或將成為長城推出的一款面向年輕人的全新系列也未可知。

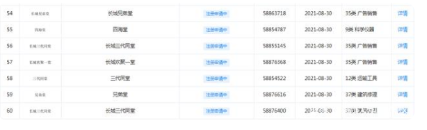
除此之外,長城還申請了“長城兄弟堂”“四海堂”“長城三代同堂”“兄弟堂”“長城歡聚一堂”“長城四海堂”等堂相關商標,妥妥的江湖義氣風范,體現了長城五湖四海一家親的感覺。

現今,在模塊化造車平臺的支撐下,新車的研發成本已經大幅度降低。同一車企旗下的不同子品牌和車型之間的零部件與技術共享已經成為常態,如何不盲目推出子品牌,將車型有利布局,實現子品牌的良性循環,才是車企最待關注的核心。
品牌運營離不開商標的守護!商標是企業品牌資產的重要組成部分,一定程度上對品牌起著生死攸關的決定作用!因此,企業經營者一定要重視商標保護,要從長遠考慮,全面完善商標布局。一方面要全面防御布局,可以防止他人搶注商標,侵犯自身知識產權權益;另一方面則是長遠著想布局,有益于保障企業品牌長遠發展健康發展!
以上內容僅供參考,如您需要解決具體的商標轉讓、商標注冊問題請詳詢“帶路商標網”我們有最專業的工作人員為您解答!